| Sellado de junta entre vidrio y carpintería | ||
| HSV010 | Sellado de junta entre vidrio y carpintería | |
|
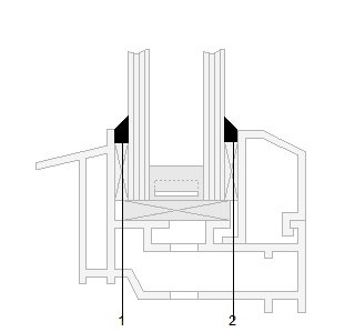
Sellado de junta interior entre vidrio y carpintería, con silicona sintética incolora, mediante aplicación manual, con pistola. | ||
Precio |
|
Exportación |
|

CONCEPTO DE OBRA HSV010: SELLADO DE JUNTA ENTRE VIDRIO Y CARPINTERÍA.
CARACTERÍSTICAS TÉCNICAS
Sellado de junta interior entre vidrio y carpintería, con silicona sintética incolora, mediante aplicación manual, con pistola.
CRITERIO DE MEDICIÓN EN PROYECTO
Longitud medida según documentación gráfica de Proyecto.
CONDICIONES PREVIAS QUE HAN DE CUMPLIRSE ANTES DE LA EJECUCIÓN DE LOS CONCEPTOS DE OBRA
AMBIENTALES.
Se suspenderán los trabajos cuando la temperatura ambiente sea inferior a 5°C o superior a 30°C, llueva con intensidad, nieve o exista viento excesivo.
PROCESO DE EJECUCIÓN
FASES DE EJECUCIÓN.
Preparación y limpieza de la junta. Protección de los bordes de la junta. Sellado. Remates. Limpieza final.
CONDICIONES DE TERMINACIÓN.
El sellado adquirirá el grado de consistencia y endurecimiento reflejado en las fichas técnicas del fabricante.
CRITERIO DE MEDICIÓN EN OBRA Y CONDICIONES DE ABONO
Se medirá la longitud realmente ejecutada según especificaciones de Proyecto.